Índice:
Diagramas de fusíveis, localização das caixas de fusíveis para Fiat 124 Spider (2016, 2017, 2018, 2019).

Substituindo fusíveis
Os fusíveis estão agrupados em conjunto em duas caixas de fusíveis localizadas do lado esquerdo do veículo e sob a capota.
Proceda da seguinte forma:
- Certifique-se de que a ignição está desligada e que os outros interruptores estão desligados.
- Abra a tampa do painel de fusíveis.
- Pressione a patilha de retenção e remova a tampa de proteção.
- Puxe o fusível a direito para fora com o saca-fusíveis fornecido no bloco de fusíveis localizado no compartimento do motor.
- Inspecione o fusível e substitua-o se estiver queimado.
- Insira um novo fusível com a mesma amperagem e certifique-se de que fica corretamente inserido.
Se o fusível voltar a ficar queimado, contacte um concessionário Fiat.
Atenção!
- Substitua um fusível sempre por outro fusível FCA genuíno ou equivalente com a mesma amperagem. Caso contrário, poderá danificar o sistema elétrico.
- Nunca substitua um fusível por outro com uma amperagem superior; PERIGO DE INCÊNDIO.
- Não substitua o fusível principal e o fusível lento multiplex sem ajuda. Contacte um concessionário Fiat para realizar a substituição. Uma substituição destes fusíveis feita por si é perigosa, pois estes são fusíveis de corrente elevada.
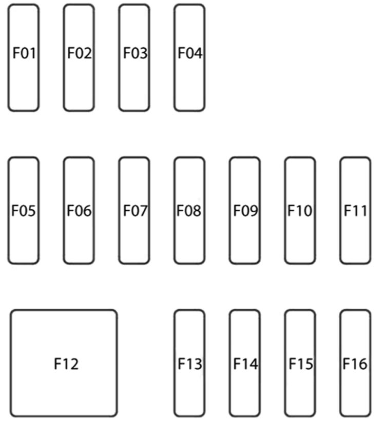
Compartimento dos passageiros

Diagrama de fusíveis



| № | DESCRIÇÃO | A | COMPONENTE PROTEGIDO | 
|---|---|---|---|
| F01 | RHT R | 30 | - | 
| F02 | R HTL | 30 | - | 
| F03 | - | - | |
| F04 | - | - | |
| F05 | F.OUTLET | 15 | Tomadas de acessórios | 
| F06 | - | - | |
| F07 | AT IND | 7.5 | Indicador de mudança, transmissão automática (se instalado) | 
| F08 | MIRROR | 7.5 | Espelho elétrico | 
| F09 | R_DECK R | 30 | - | 
| F10 | R_DECK L | 30 | - | 
| F11 | F.WASHER | 15 | Lava para-brisas | 
| F12 | P.WINDOW | 30 | Vidros elétricos | 
| F13 | - | - | - | 
| F14 | SRS2/ESCL | 15 | Bloqueio da direção eletrónico | 
| F15 | SEAT WARM | 20 | Aquecedor de assentos | 
| F16 | M.DEF | 7.5 | - | 
Fusíveis sob a capota
Ao remover a tampa, remova-a lentamente e de acordo com o seguinte procedimento:



- Destranque o fecho traseiro 1 pressionando para baixo a patilha dianteira com os seus dedos.
- Remova a patilha dianteira elevando ligeiramente a parte dianteira da tampa 2.
- Remova a tampa levantando-a e deslocando-a para trás.
- Se estiver queimado algum fusível que não seja o fusível principal, substitua-o por um novo com a mesma amperagem.
Diagrama de fusíveis



| № | DESCRIÇÃO | A | COMPONENTE PROTEGIDO | 
|---|---|---|---|
| F03 | HORN2 | 7.5 | Buzina | 
| F06 | - | - | - | 
| F07 | INTERIOR | 15 | Luz do tejadilho | 
| F09 | AUDIO2 | 15 | Sistema áudio | 
| F10 | METER1 | 10 | Painel de instrumentos | 
| F11 | SRS1 | 7.5 | Airbag | 
| F12 | - | - | - | 
| F13 | RADIO | 7.5 | Sistema áudio | 
| F17 | AUDIO1 | 25 | Sistema áudio | 
| F18 | A/C MAG | 7.5 | Ar condicionado | 
| F20 | AT | 15 | Sistema de controlo da transmissão (se instalado) | 
| F21 | D LOCK | 25 | Fecho centralizado da porta | 
| F22 | H/L RH | 20 | Farol (direito) | 
| F24 | TAIL | 20 | Luzes traseiras/luzes de chapa de matrícula / Luzes de posição | 
| F25 | DRL | 15 | Luzes diurnas | 
| F26 | ROOM | 25 | Luz do tejadilho | 
| F27 | FOG | 15 | Luzes de nevoeiro | 
| F28 | H/CLEAN | 20 | Sistema de limpeza dos faróis (se instalado) | 
| F29 | STOP | 10 | Luzes de marcha-atrás/Luz de nevoeiro traseira (se instalada) | 
| F30 | HORN | 15 | Buzina | 
| F31 | H/L LH | 20 | Farol (esquerdo) | 
| F33 | HAZARD | 15 | Piscas de aviso de perigo/Luzes de indicadores de direção | 
| F36 | WIPER | 20 | Limpa para-brisas | 
| F37 | CABIN + B | 50 | Para proteção de vários circuitos | 
| F38 | - | - | - | 
| F39 | - | - | - | 
| F42 | EVPS | 30 | - | 
| F43 | FAN1 | 30 | Ventoinha de arrefecimento | 
| F44 | FAN2 | 40 | Ventoinha de arrefecimento | 
| F47 | DEFOG | 30 | Desembaciador do vidro traseiro | 
| F48 | IG2 | 30 | Para proteção de vários circuitos | 
| F50 | HEATER | 40 | Ar condicionado | 
| F51 | - | - | - | 
| F52 | - | - | - |